Угловой тройник под кольцо DS30 BSP 1-1/4", артикул 106722.1 от Cast
Угловой тройник под кольцо DS30 BSP 1-1/4". Соединения с врезным кольцом (DIN 2353). Угловой адаптер 90° BSP (уплотнение по конусу)
Представляем угловой тройник CAST артикул 106722.1 — элемент гидравлической системы, обеспечивающий надёжное и компактное соединение трёх каналов. Данный фитинг CAST спроектирован для применения в гидравлических сетях со стандартным давлением (до 200 бар), что делает его оптимальным решением для станочного оборудования, промышленной гидравлики и мобильной техники. Серия S гарантирует повышенную прочность и долговечность в ответственных узлах.
Конструкция данного углового тройника предназначена для формирования сборных трубных соединений по DIN 2353 с внутренним конусом 24°. Он обеспечивает герметичное и виброустойчивое подключение труб диаметром 30 мм, что критически важно для предотвращения утечек даже при динамических нагрузках. Элемент не соответствует ISO 8434-1, что указывает на специфическое применение и необходимость предварительного запроса.
- Артикул: 106722.1
- Бренд: CAST
- Рабочее давление (WP): 200 бар
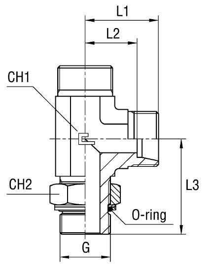
- Диаметр трубы (D1): 30 мм
- Резьба (G): 1 1/4" BSP
- Серия: S
- Стандарт трубного соединения: 24° DIN 2353
- Размер под ключ (CH1, CH2, CH3): 41 мм, 50 мм, 50 мм
- Длины (L1, L2, L3, L4): 49 мм, 35.5 мм, 59 мм, 62 мм
Для эксплуатации в агрессивных средах или при повышенных требованиях к коррозионной стойкости, доступен вариант из нержавеющей стали AISI 316 (для заказа замените префикс артикула с 10.... на 11....). Также предлагается исполнение из нержавеющей стали AISI 316 с гайкой из AISI 304 (артикул 14....). Это расширяет область применения тройника до пищевой, химической и морской промышленности. Фитинг поставляется без уплотнительных шайб, что позволяет индивидуально подобрать их под конкретные условия эксплуатации.