Угловой тройник под кольцо DS08 BSP 1/4" арт. 106715.1 от Cast
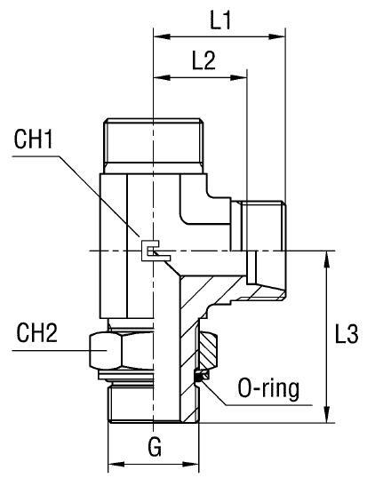
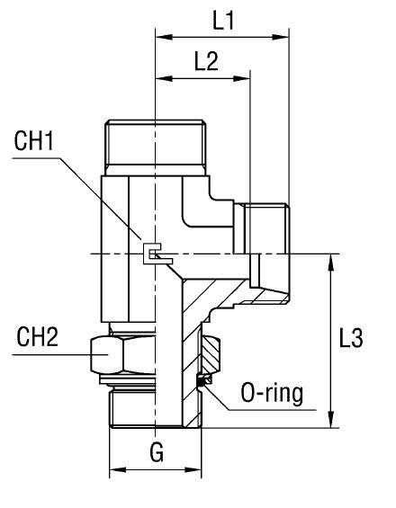
Угловой тройник под кольцо DS08 BSP 1/4". Соединения с врезным кольцом (DIN 2353). Угловой адаптер 90° BSP (уплотнение по конусу)
Данный угловой тройник под кольцо, артикул 106715.1, производства CAST, разработан для создания высоконадежных и герметичных отводов в гидравлических системах. Изделие предназначено для оптимизации маршрутизации трубопроводов и обеспечивает компактное подключение в ограниченном пространстве. Используется в широком спектре промышленных применений, включая станки, мобильную технику, а также системы со стандартным и высоким давлением для гидравлических масел и других рабочих жидкостей.
Угловой тройник представляет собой специализированный фитинг CAST, обеспечивающий создание трехходового соединения. Его конструкция гарантирует надежную фиксацию и герметичность труб. Хотя данная позиция не всегда полностью соответствует норме ISO 8434-1, она адаптирована для интеграции с трубными соединениями 24° DIN 2353, что подтверждает её совместимость со стандартными гидравлическими компонентами и обеспечивает прочное соединение с конусной геометрией.
- Артикул: 106715.1
- Бренд: CAST
- Рабочее давление (WP): 315 бар
- Диаметр трубы D1: 8 мм
- Резьба G: BSP 1/4"
- Размер под ключ (CH1, CH2, CH3): 14, 19, 19 мм
- Серия: S
- Стандарт трубного соединения: 24° DIN 2353
- Длины (L1, L2, L3, L4): 24, 17, 32, 32 мм
Стандартное исполнение тройника изготовлено из стали. Для обеспечения коррозионной стойкости в агрессивных средах доступен вариант из нержавеющей стали AISI 316 — для заказа такого исполнения необходимо заменить префикс артикула с 10.... на 11..... Также предусмотрен вариант из нержавеющей стали AISI 316 с гайкой из нержавеющей стали AISI 304, доступный по артикулу с префиксом 14..... Эти варианты обеспечивают долговечность и надежность в условиях повышенной влажности, химически активных сред и других сложных эксплуатационных условий. Комплектность поставки может включать уплотнительные шайбы для обеспечения максимальной герметичности.