Угловой переходник 90° BSP 1"(Г)-BSPT 1"(Ш) арт. 302207 от Cast
Угловой переходник 90° BSP 1"(Г)-BSPT 1"(Ш). Соединения с уплотнением по конусу 60° (BSP). Угловой ввертной адаптер 90° BSPT (уплотнение по резьбе)
Угловой резьбовой фитинг CAST (артикул 302207) – это высокопрочный переходник, разработанный для компактного изменения направления потока на 90 градусов в гидравлических контурах. Изделие универсальной серии CAST предназначено для создания герметичного и надежного сопряжения разнотипных дюймовых резьб при среднем рабочем давлении. Основные области применения включают стационарные и мобильные гидравлические системы, промышленные установки, а также линии подачи топлива и смазочных материалов.
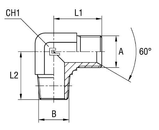
Конструктивно фитинг выполнен как цельнометаллический угловой элемент с внутренним цилиндрическим соединением BSP G 1" (гайка) и наружным коническим соединением BSPT R 1" (штуцер). Данное исполнение соответствует высоким требованиям стандарта BS 5200, обеспечивая надежное трубное соединение с конусностью 60°. При использовании соответствующего уплотнения (USIT или аналога) гарантируется полная герметичность системы, устойчивость к вибрационным нагрузкам и пульсации давления.
- Рабочее давление (WP): 160 бар
- Размер под ключ (CH1): 33 мм
- Длина L1 / L2: 45 мм / 50 мм
- Стандарт соединения: BS-5200 (60°)
Стандартное исполнение углового переходника выполнено из углеродистой стали с защитным покрытием. Для эксплуатации в агрессивных средах или при повышенных требованиях к коррозионной стойкости доступен вариант исполнения из нержавеющей стали AISI 316. Чтобы заказать данный материал, необходимо заменить первые две цифры артикула с 30 на 31 (например, 312207).