Угловой адаптер под кольцо DS8 M16x1.5 (корпус) арт. 604615.1 от Cast
Угловой адаптер под кольцо DS8 M16x1.5 (корпус). Соединения с врезным кольцом (DIN 2353). Угловые адаптеры 90°
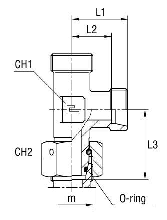
Угловой адаптер (корпус) артикул 604615.1 представляет собой ключевой элемент для создания герметичного и компактного 90-градусного поворота в гидравлических системах высокого давления. Данный фитинг CAST относится к тяжелой серии S, что гарантирует его надежность при экстремальных нагрузках. Адаптер предназначен для применения в стационарных гидравлических установках, тяжелой мобильной технике, а также в оборудовании, требующем стабильного функционирования при давлении до 800 бар.
Конструкция L-образного корпуса обеспечивает эффективное подключение метрической трубы диаметром 8 мм. Соединение соответствует высокому стандарту DIN 2353 (соединение 24°), обеспечивая полную совместимость с различными компонентами. Корпус предназначен для создания надежного трубного соединения путем использования врезного кольца и накидной гайки (приобретаются отдельно). Высокая точность изготовления гарантирует идеальную соосность и герметичность даже в условиях вибрации и пульсирующего давления.
- Рабочее давление (WP): 800 бар
- Диаметр трубы M1/D1: 8 мм
- Резьба 1 (корпуса): M16x1.5
- Стандарт соединения: 24° DIN 2353 (ISO 8434-1)
- Серия: S (Тяжелая)
- Размер под ключ 2 (CH2): 19 мм
Стандартное исполнение адаптера выполнено из высококачественной оцинкованной стали. Для проектов, требующих повышенной коррозионной стойкости или работы с агрессивными средами, доступна версия из нержавеющей стали AISI 316. Для заказа нержавеющей версии необходимо изменить стандартный префикс артикула с 60... на 61.... Внимание: адаптер поставляется только корпусом; для полного подключения требуется приобретение соответствующего врезного кольца и накидной гайки.