Угловой адаптер под кольцо DS20 M30x2 (корпус) арт. 604620.1 от Cast
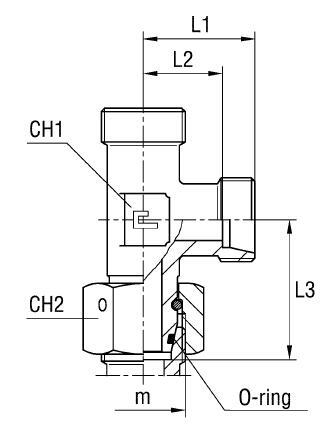
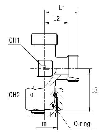
Угловой адаптер под кольцо DS20 M30x2 (корпус). Соединения с врезным кольцом (DIN 2353). Угловые адаптеры 90°
Данный угловой адаптер (артикул 604620.1) представляет собой специализированный корпус для создания герметичных и компактных угловых (90°) трубных соединений в гидросистемах высокого давления. Адаптер принадлежит к высокопроизводительной серии S (Тяжелая серия) от производителя фитинг CAST. Основное назначение — обеспечение надежного подключения трубопроводов в условиях, требующих оптимизации маршрутизации, особенно в мобильной технике, тяжелом машиностроении и стационарных промышленных установках.
Конструкция разработана для работы с трубами наружным диаметром 20 мм и имеет метрическую наружную резьбу M30x2. Изделие соответствует международным стандартам для гидравлических трубных соединений 24° конусности (соединение DIN 2353). Корпус адаптера обеспечивает высокую устойчивость к вибрациям и пиковым нагрузкам, что критично для систем с рабочим давлением до 420 бар.
- Рабочее давление (WP): 420 бар
- Диаметр подключаемой трубы (D1): 20 мм
- Наружная резьба (Резьба 1): M30x2
- Серия давления: S (Тяжелая)
- Размер под ключ 1 (CH1): 27 мм
Стандартное исполнение адаптера выполнено из высокопрочной углеродистой стали с антикоррозионным покрытием. Для применения в агрессивных средах или для обеспечения повышенной коррозионной стойкости (например, в пищевой или морской промышленности) доступен вариант из нержавеющей стали AISI 316. При заказе нержавеющей версии необходимо изменить префикс артикула с 60... на 61.... Адаптер поставляется как корпус и требует комплектации накидной гайкой и врезным кольцом.