Угловой адаптер JIC 9/16" (Г-Ш) арт. 204203.3 от Cast
Угловой адаптер JIC 9/16" (Г-Ш). Соединения под развальцовку 37° (JIC). Угловые адаптеры 90°
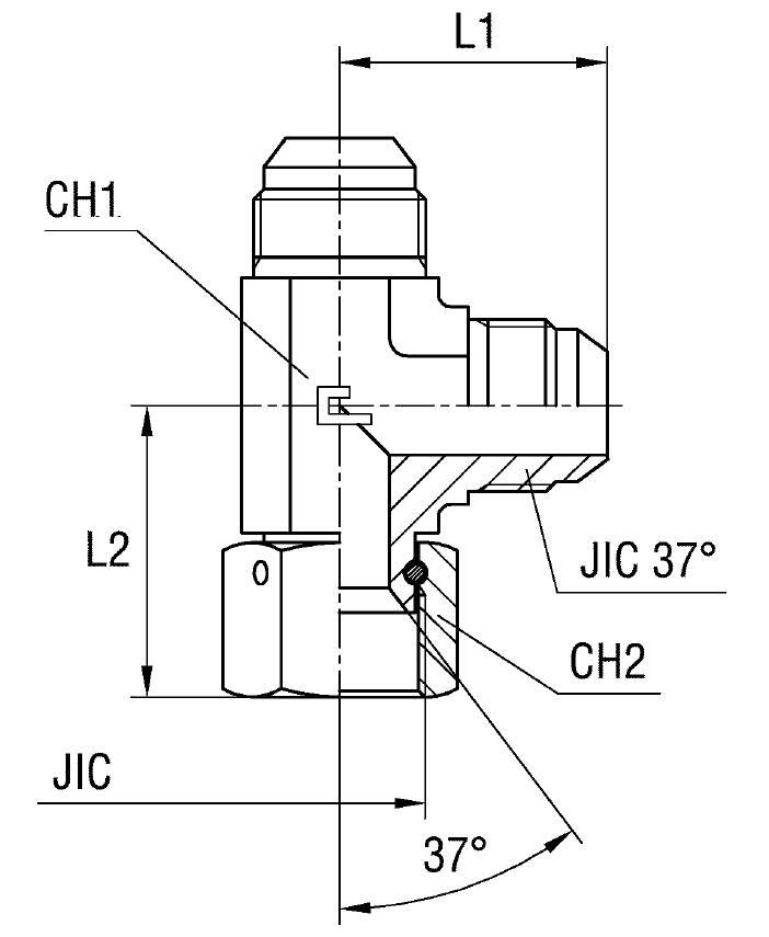
Данный угловой адаптер (90°) артикул 204203.3 от производителя CAST предназначен для компактного и герметичного трубного соединения, обеспечивая при этом эффективное изменение направления потока в гидравлической системе. Он относится к универсальной серии и используется преимущественно в гидравлике высокого давления (до 350 бар), мобильной технике, промышленном оборудовании, а также в системах смазки и топливоподачи.
Конструктивно адаптер является переходником типа «мама-папа» (Г-Ш), разработанным для обеспечения максимальной виброустойчивости. Соединение выполнено по стандарту 37° SAE J514 (JIC), что гарантирует полную совместимость с компонентами JIC и упрощает процесс монтажа. Использование фитинга CAST позволяет инженерам создавать надежные, ремонтопригодные и быстроразъемные узлы в сложных конфигурациях трубопроводов.
- Рабочее давление (WP): 350 бар
- Тип резьбы 9: 9/16-18 UNF
- Номинальный диаметр трубы (W): 3/8 дюйма
- Размер под ключ 1 (CH1): 14 мм
- Размер под ключ 2 (CH2): 19 мм
- Стандарт соединения: Соединения 37° SAE J514 (JIC)
Стандартное исполнение адаптера выполнено из высокопрочной стали. Для эксплуатации в агрессивных средах, при контакте с химическими реагентами или в условиях повышенной коррозионной активности доступен вариант из нержавеющей стали. При заказе нержавеющего исполнения необходимо изменить префикс артикула с 20... на 21.... Изделие поставляется без дополнительных уплотнительных шайб, поскольку герметичность обеспечивается конусным уплотнением 37°.