Угловой адаптер JIC 3/4" (Г-Ш) арт. 204204.3 от Cast
Угловой адаптер JIC 3/4" (Г-Ш). Соединения под развальцовку 37° (JIC). Угловые адаптеры 90°
Угловой гидравлический адаптер 90° (артикул 204204.3) производства CAST предназначен для организации герметичного и компактного углового подключения трубопроводов в гидросистемах. Этот гидравлический фитинг, относящийся к универсальной серии, оптимален для применения в системах среднего и высокого давления (WP до 350 бар). Основные области применения включают мобильную строительную и сельскохозяйственную технику, станочное оборудование и промышленные гидравлические линии, где требуется надежное и быстроразъемное трубное соединение.
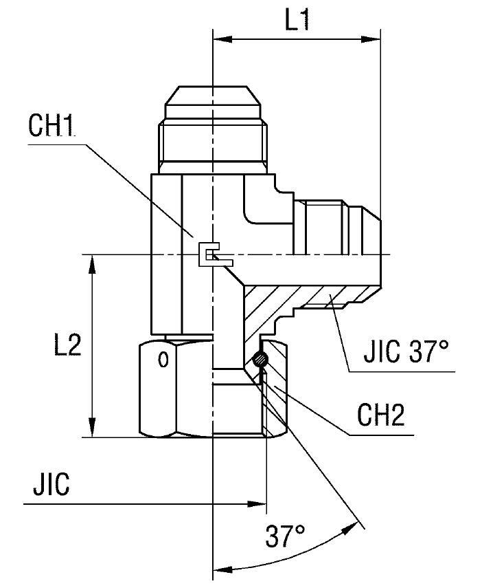
Конструктивно изделие представляет собой цельнокованый Г-образный фитинг типа "гайка-штуцер" (Г-Ш). Адаптер соответствует международному стандарту JIC (Joint Industrial Council), предусматривающему конусное уплотнение под углом 37° согласно спецификации SAE J514. Резьбовое соединение 3/4-16 UNF обеспечивает совместимость с широким спектром компонентов. Фитинг рассчитан на работу с трубами номинальным диаметром 12 мм (метрика) и 1/2 дюйма (дюймовые), гарантируя высокую надежность стыка при многократной сборке/разборке.
- Рабочее давление (WP): 350 бар
- Стандарт трубного соединения: JIC 37° SAE J514
- Номинальная резьба (9): 3/4-16 UNF
- Диаметр подключаемой трубы: 12 мм / 1/2"
- Размеры под ключ (CH1/CH2): 19 мм / 22 мм
Базовое исполнение адаптера выполнено из высококачественной углеродистой стали с защитным покрытием. Для эксплуатации в агрессивных средах или условиях повышенной коррозионной активности (например, в морском оборудовании) доступен вариант исполнения из нержавеющей стали AISI 316. При заказе данной модификации необходимо изменить префикс артикула с 20... на 21.... Это универсальное трубное соединение поставляется без дополнительных уплотнительных шайб или гаек, которые заказываются отдельно в зависимости от требуемой конфигурации системы.