Тройник под кольцо DL35 M45x2 (корпус), артикул 103912.1 от Cast
Тройник под кольцо DL35 M45x2 (корпус). Соединения с врезным кольцом (DIN 2353). Т-адаптеры DIN 2353
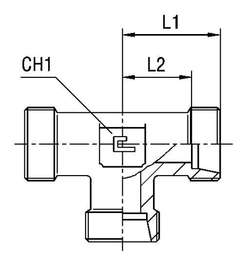
Представленный элемент – это высокопрочный корпус тройника CAST (Артикул 103912.1) серии L (легкая), предназначенный для создания надежного и компактного ответвления в гидравлической системе. Основное назначение – интеграция трех линий с использованием трубных соединений 24° DIN 2353. Благодаря номинальному рабочему давлению до 250 бар, фитинг оптимален для применения в станкостроении, сельскохозяйственной, строительной и мобильной технике, а также в общепромышленных гидравлических сетях со стандартными нагрузками.
Конструктивно данный тройник является встраиваемым корпусом, обеспечивающим два прямых выхода для труб Ø 35 мм. Третий порт представляет собой метрическую резьбу M45x2, предназначенную для непосредственного монтажа в гидравлический блок или панель. Все трубные соединения совместимы со стандартом DIN 2353 (конус 24°), что гарантирует герметичность при использовании стандартных врезных колец (DL) и накидных гаек, которые не входят в комплект поставки.
- Рабочее давление (WP): 250 бар
- Номинальный диаметр трубы (D1): 35 мм
- Стандарт соединения: Соединения 24° (DIN 2353)
- Монтажная резьба (в блок): M45x2
- Серия: Легкая (L)
- Размер под ключ для монтажа (CH2): 50 мм
Стандартное исполнение (префикс артикула 60...) изготавливается из высокопрочной стали с антикоррозийным покрытием. Для условий, требующих повышенной коррозионной стойкости, например, в химической или морской среде, доступно исполнение из нержавеющей стали AISI 316. При заказе нержавеющей версии используйте соответствующий префикс артикула 61... вместо стандартного 60... Фактическая комплектность включает только корпус фитинга; все дополнительные элементы (кольца, гайки, уплотнения) заказываются отдельно.