Тройник-переходник под кольцо DS8-M30x2 (корпус) арт. 605414.1 от Cast
Тройник-переходник под кольцо DS8-M30x2 (корпус). Соединения с врезным кольцом (DIN 2353). Прямой соединитель "гайка-штуцер"
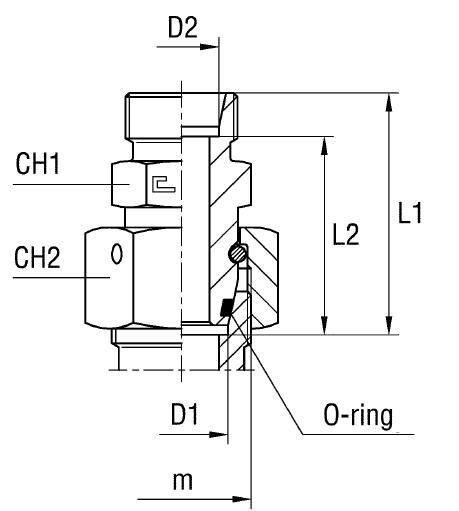
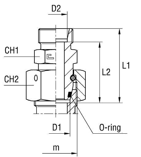
Этот тройник высокого давления (артикул 605414.1) представляет собой специализированный элемент для создания герметичных ответвлений в гидравлических системах. Изделие от производителя **фитинг CAST** относится к тяжелой серии S и предназначено для работы с номинальным давлением до 420 бар. Основные области применения включают стационарное и мобильное оборудование, где требуется компактное, надежное и легко обслуживаемое **трубное соединение DIN 2353** в условиях высоких нагрузок.
Конструкция тройника-переходника обеспечивает подключение метрической резьбы M30x2 к одному порту и возможность установки врезного кольца (тип DS) для присоединения трубы диаметром 20 мм к двум другим портам. Все три порта выполнены с конусностью 24°, что строго соответствует требованиям международного стандарта DIN 2353. Эта конфигурация гарантирует высокую виброустойчивость и минимальные утечки при пульсирующих нагрузках и больших механических напряжениях.
- Рабочее давление (WP): 420 бар (Серия S)
- Номинальный диаметр трубы (D1): 20 мм
- Тип резьбы 1: М30x2 (метрическая)
- Стандарт соединения: 24° DIN 2353
- Размер под ключ (CH1/CH2): 27 мм / 36 мм
В стандартном исполнении корпус фитинга изготавливается из высокопрочной стали с антикоррозийным покрытием (артикул 60...). Для систем, работающих в агрессивной или коррозионной среде (например, морская техника, химическая промышленность), доступно исполнение из нержавеющей стали AISI 316. Заказчику необходимо изменить префикс артикула с 60... на 61... При поставке в комплект не входят врезные кольца и накидные гайки, которые заказываются отдельно в зависимости от требуемой конфигурации.