Тройник-переходник под кольцо DS14-M42x2 (корпус) арт. 605434.1 от Cast
Тройник-переходник под кольцо DS14-M42x2 (корпус). Соединения с врезным кольцом (DIN 2353). Прямой соединитель "гайка-штуцер"
Корпус тройника-переходника (Артикул 605434.1) представляет собой специализированный высоконапорный **фитинг CAST**, предназначенный для герметичного и компактного разветвления гидравлических линий. Данное изделие серии S разработано для создания **трубное соединение** 24° с одновременным подключением к порту с метрической резьбой M42x2. Основное назначение – интеграция в сложные схемы промышленных станков, тяжелой строительной и сельскохозяйственной техники, где требуется надежная работа под высоким рабочим давлением до 420 бар.
Конструктивно фитинг выполнен в виде цельного корпуса DS14, совместимого с врезными кольцами и накидными гайками (заказываются отдельно). Два патрубка рассчитаны под трубу диаметром 30 мм и соответствуют жесткому международному стандарту **DIN 2353** (ISO 8434-1). Высокоточная обработка конуса 24° гарантирует максимальную устойчивость к вибрационным и импульсным нагрузкам, предотвращая утечки рабочей жидкости (масло, топливо, смазка).
- Артикул (Стандарт): 605434.1
- Максимальное рабочее давление (WP): 420 бар (Серия S)
- Номинальный диаметр подключаемой трубы (D1): 30 мм
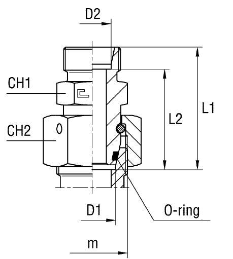
- Тип резьбы 1: Метрическая M42x2
- Стандарт соединения: 24° конус по DIN 2353
- Размер под ключ (CH1/CH2): 41 мм / 50 мм
Стандартное исполнение выполнено из высокопрочной углеродистой стали с защитным покрытием. Для применения в условиях повышенной коррозионной активности или контакта с агрессивными средами доступна модификация из нержавеющей стали AISI 316. Для заказа коррозионностойкого исполнения необходимо изменить префикс артикула с 60... на 61... Обратите внимание: уплотнительные элементы, врезные кольца и накидные гайки не входят в базовый комплект и подбираются инженером в соответствии с требованиями конкретной гидравлической системы.