Тройник-переходник под кольцо DL22-M36x2 (корпус) арт. 605340.1 от Cast
Тройник-переходник под кольцо DL22-M36x2 (корпус). Соединения с врезным кольцом (DIN 2353). Прямой соединитель "гайка-штуцер"
Данный тройник-переходник, артикул 605340.1, представляет собой ключевой компонент для создания надежных и герметичных отводов в гидравлических системах. Разработанный и произведенный компанией CAST в легкой серии (L), он предназначен для эффективного изменения направления потока или организации ответвления в гидравлических контурах. Изделие оптимально подходит для систем со стандартным рабочим давлением до 250 бар, находя применение в станках, мобильной и сельскохозяйственной технике, где важны компактность и высокая эксплуатационная надежность.
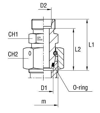
Конструктивно, это корпусной тройник-переходник CAST, оснащенный метрической резьбой M36x2 для вкручивания в соответствующий порт и двумя выходами под врезное кольцо, рассчитанными на трубные соединения с наружным диаметром 28 мм. Изделие соответствует международному стандарту DIN 2353 (ISO 8434-1), что обеспечивает полную совместимость со стандартизированными врезными кольцами и накидными гайками, гарантируя надежное и герметичное соединение на 24-градусном конусе.
- Артикул: 605340.1
- Рабочее давление (WP): 250 бар
- Диаметр трубы M1/D1: 28 мм
- Резьба 1: M36x2
- Размер под ключ 1 (CH1): 32 мм
- Размер под ключ 2 (CH2): 41 мм
- Серия: L (Легкая)
- Стандарт трубного соединения: Соединения 24° DIN 2353
- Длина L1: 43.5 мм
- Длина L2: 36 мм
- Длина L3: 52.5 мм
Тройник поставляется как корпус, требующий для полноценного функционирования комплектации соответствующими врезными кольцами (например, O-образной формы) и накидными гайками, рассчитанными на диаметр трубы 28 мм и стандарт DIN 2353. Стандартное исполнение выполнено из стали с антикоррозийным покрытием. Для эксплуатации в агрессивных средах или условиях повышенной коррозионной активности доступен вариант из нержавеющей стали AISI 316; для заказа такого исполнения необходимо изменить префикс артикула с "60..." на "61...". Это обеспечивает оптимальную стойкость к химически агрессивным средам и долговечность трубного соединения в сложных условиях.