Тройник-переходник под кольцо DL12-M45x2 (корпус) арт. 605329.1 от Cast
Тройник-переходник под кольцо DL12-M45x2 (корпус). Соединения с врезным кольцом (DIN 2353). Прямой соединитель "гайка-штуцер"
Представляем гидравлический тройник-переходник CAST, артикул 605329.1, предназначенный для создания надежного и герметичного разветвления потока в гидравлических системах. Этот фитинг, относящийся к легкой серии L, обеспечивает компактное подключение, где один из выходов использует трубное соединение DIN 2353 24°, а другой – резьбу M45x2, оптимизированную для специального уплотнения "под кольцо". Основные области применения включают мобильную технику, станочное оборудование, промышленные установки и системы смазки, работающие при стандартном давлении до 250 бар.
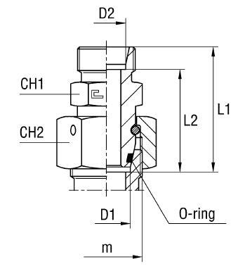
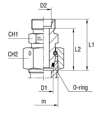
Данный тройник-переходник является основным корпусом, формирующим T-образное ответвление. Он разработан для обеспечения высокой надежности при монтаже трубных соединений. Один из отводов имеет конус 24° для трубы диаметром 35 мм, полностью соответствуя стандарту DIN 2353, что гарантирует совместимость и герметичность с соответствующими накидными гайками и врезными кольцами. Другой выход, с резьбой M45x2, предназначен для специализированного подключения с использованием уплотнительного кольца.
- Рабочее давление (WP): 250 бар
- Диаметр трубы D1: 35 мм
- Резьба 1: M45x2
- Серия: L (Легкая)
- Стандарт трубного соединения: 24° конус DIN 2353
- Размер под ключ CH1: 41 мм
- Размер под ключ CH2: 50 мм
Тройник поставляется как основной корпус соединения. Для формирования полноценного узла требуется дополнительная комплектация накидными гайками, врезными кольцами (для DIN 2353) и соответствующими уплотнительными шайбами или кольцами для резьбового подключения M45x2. Стандартное исполнение – оцинкованная сталь. Для эксплуатации в агрессивных средах или при необходимости повышенной коррозионной стойкости доступна версия из нержавеющей стали AISI 316. Для заказа фитинга CAST из нержавеющей стали необходимо изменить префикс артикула с "60..." на "61...".