Тройник-переходник под кольцо DL12-M26x1.5 (корпус) арт. 605326.1 от Cast
Тройник-переходник под кольцо DL12-M26x1.5 (корпус). Соединения с врезным кольцом (DIN 2353). Прямой соединитель "гайка-штуцер"
Представляем тройник-переходник под кольцо артикул 605326.1, разработанный для формирования надежного и герметичного разветвления в гидравлических системах. Произведенный брендом CAST в серии L (легкая), данный гидравлический тройник обеспечивает эффективное подключение трёх линий. Идеально подходит для систем с рабочим давлением до 400 бар, находя применение в станочной гидравлике, мобильной технике, а также в системах смазки и топливных магистралях, работающих со стандартным давлением.
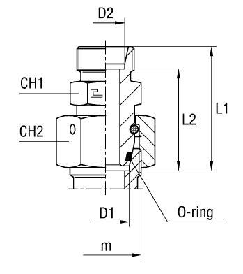
Конструкция представляет собой корпусной фитинг, предназначенный для создания компактных и безопасных разветвлений. Тройник полностью соответствует стандарту трубного соединения DIN 2353 (соединения 24°), гарантируя полную совместимость и взаимозаменяемость с соответствующими компонентами. Он разработан для работы с трубными соединениями 24° и имеет метрическую резьбу M26x1.5, а также подключение под обжимное кольцо DL12 для трубы внешним диаметром 12 мм.
- Рабочее давление (WP): 400 бар
- Диаметр трубы M1/D1: 18 мм
- Размер под ключ 1 (CH1): 24 мм
- Размер под ключ 2 (CH2): 32 мм
- Серия: L (Легкая)
- Длина L1: 37,5 мм
- Длина L2: 30,5 мм
- Длина L3: 45,5 мм
- Стандарт трубного соединения: Соединения 24° DIN 2353
- Резьба 1: M26x1.5
Данный тройник-переходник поставляется в виде корпуса из оцинкованной стали. Для полной сборки необходимы соответствующие обжимные кольца и гайки по DIN 2353, которые заказываются отдельно. Для применений, требующих повышенной коррозионной стойкости, например, в химической, пищевой промышленности или агрессивных средах, доступен вариант из нержавеющей стали AISI 316. Для заказа такой модификации достаточно изменить префикс артикула с 60... на 61....