Прямой соединитель под кольцо DS10 M18x1.5 (корпус) арт. 103516.1 от Cast
Прямой соединитель под кольцо DS10 M18x1.5 (корпус). Соединения с врезным кольцом (DIN 2353). Прямые адаптеры DIN 2353
Прямой соединитель под кольцо (фитинг) артикула 103516.1 от производителя CAST предназначен для создания надежных и герметичных гидравлических систем. Данный фитинг типа DS10 обеспечивает компактное подключение трубопроводов, часто применяясь в оборудовании, работающем под давлением до 800 бар. Распространен в системах смазки, топливных линиях, на станках и в мобильной гидравлике.
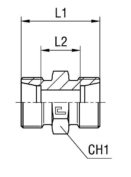
Конструкция изделия представляет собой полый корпус, соответствующий стандарту DIN 2353 для трубных соединений с конусностью 24°. Обеспечивает надежное соединение с трубой посредством врезающегося кольца (не входит в комплект поставки корпуса). Это гарантирует высокую герметичность и стойкость к вибрациям, что критически важно для гидравлических систем.
- Тип фитинга: Прямой соединитель под кольцо (корпус)
- Артикул: 103516.1
- Производитель: CAST
- Серия: S
- Рабочее давление (WP): 800 бар
- Тип резьбы: M18x1.5
- Диаметр присоединяемой трубы (D1): 10 мм
- Стандарт трубного соединения: 24° DIN 2353
- Размер под ключ (CH1/CH2): 19 мм / 22 мм
По умолчанию корпус фитинга изготавливается из стали. Для применения в агрессивных средах и обеспечения повышенной коррозионной стойкости доступны исполнения из нержавеющей стали AISI 316. Для заказа корпуса из AISI 316 необходимо заменить префикс артикула с "10" на "11" (например, 113516.1). При заказе фитинга в сборе с гайкой из нержавеющей стали AISI 304, префикс артикула должен быть "14" (например, 143516.1).