Прямой переходник BSP 1/4"(Ш) - 3/8"(Ш) арт. 300505 от Cast
Прямой переходник BSP 1/4"(Ш) - 3/8"(Ш). Соединения с уплотнением по конусу 60° (BSP). Прямой адаптер BSP
Представляем прямой переходник BSP артикул 300505 от производителя CAST. Этот универсальный фитинг предназначен для создания герметичных и надежных соединений в гидравлических системах. Основное назначение — адаптация резьбовых соединений разных размеров, обеспечивая компактность и универсальность подключения. Идеально подходит для применения в низко- и среднедавящих гидравлических трактах, системах смазки, подачи топлива, а также в станочном оборудовании и мобильной технике.
Конструкция данного переходника обеспечивает высокую надежность и простоту монтажа. Фитинг соответствует стандарту трубного соединения BS-5200 с уплотнением под углом 60°, что гарантирует плотное и безотказное сопряжение. Продуманный дизайн позволяет легко интегрировать его в существующие гидравлические контуры, обеспечивая бесшовное расширение или адаптацию системы.
- Бренд: CAST
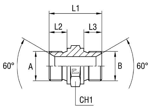
- Артикул: 300505
- Рабочее давление (WP): 400 бар
- Размер под ключ 1 (CH1): 22 мм
- Серия: Универсальная
- Длина L1: 33,5 мм
- Длина L2: 11 мм
- Стандарт трубного соединения: Соединения 60° BS-5200
- Длина L3: 12 мм
- Размер B: 3/8"
- Размер A (USIT): 1/4"
Для заказа данного гидравлического фитинга CAST из нержавеющей стали AISI 316, обеспечивающей повышенную коррозионную стойкость в агрессивных средах, следует изменить префикс артикула с "30" на "31". При использовании уплотнительных систем с омедненной прокладкой, рекомендуем сверяться с нормами давления, указанными для позиций серии 3001. Это позволяет адаптировать переходник к специфическим условиям эксплуатации и требованиям проекта.