Прямой адаптер под кольцо DS16 BSP 1/2" (корпус) арт. 108819.1 от Cast
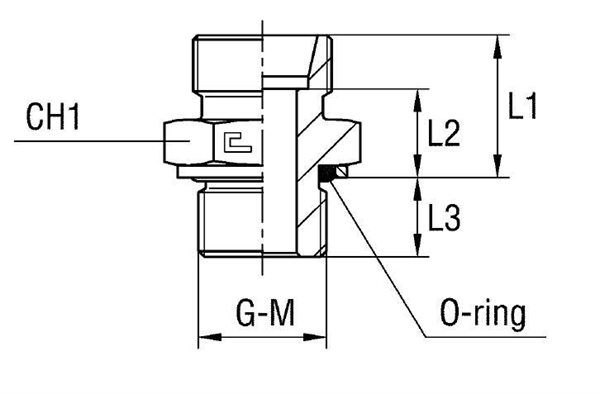
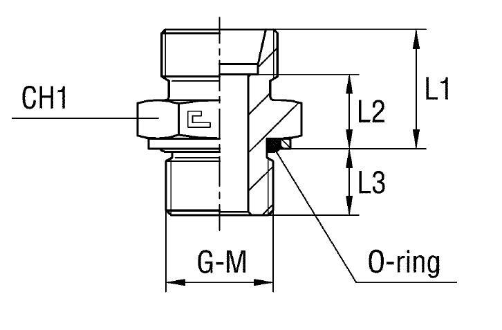
Прямой адаптер под кольцо DS16 BSP 1/2" (корпус). Соединения с врезным кольцом (DIN 2353). Прямой ввертной адаптер BSP с уплотнением O-Ring
Представляем прямой адаптер корпуса CAST серии S, артикул 108819.1. Данный компонент предназначен для создания надежного герметичного соединения в гидросистемах со стандартным давлением. Он идеально подходит для использования в станочном оборудовании, мобильной технике и промышленных гидравлических установках, где требуется компактное угловое подключение линий смазки или топливных систем. Фитинг CAST обеспечивает долговечность и стабильность работы в различных условиях эксплуатации.
Адаптер разработан для соответствия требованиям стандарта DIN 2353, что гарантирует совместимость с широким спектром трубных соединений и конусностью 24°. Его конструкция обеспечивает герметичность с помощью уплотнительного кольца по внутреннему конусу, что является ключевым для предотвращения утечек. Несмотря на то, что данная позиция не всегда соответствует норме ISO 8434-1, высокое качество производства гарантирует безотказную работу в заявленных пределах.
- Артикул: 108819.1
- Рабочее давление (WP): 315 бар
- Диаметр трубы (D1): 16 мм
- Резьба: 1/2" BSP
- Размер под ключ CH1: 27 мм
- Размер под ключ CH2: 30 мм
- Серия: S (тяжелая серия)
- Стандарт трубного соединения: 24° DIN 2353
- Длина L1: 18,3 мм
- Длина L2: 26,8 мм
- Длина L3: 12,2 мм
- Длина L4: 36,8 мм
Для эксплуатации в специфических условиях, например, с агрессивными средами или при повышенных требованиях к коррозионной стойкости, доступно исполнение из нержавеющей стали AISI 316. Для заказа такой модификации необходимо заменить префикс артикула с "10" на "11". Также доступна опция с гайкой из нержавеющей стали AISI 304, где префикс меняется на "14". Этот фитинг CAST поставляется без уплотнительных колец в стандартной комплектации, позволяя инженерам выбрать оптимальное решение для конкретного применения.