Переборочный прямой соединитель DS20 M30x2 (корпус) арт. 103620.1 от Cast
Переборочный прямой соединитель DS20 M30x2 (корпус). Соединения с врезным кольцом (DIN 2353). Прямой адаптер (серия PD)
Переборочный прямой соединитель DS20 M30x2 (корпус) артикула 103620.1 от CAST предназначен для формирования герметичных проходок через панели или переборки. Является компонентом трубных соединений серии S, обеспечивая надежное подключение гидравлических линий в условиях стандартного и высокого давления. Применяется в стационарном и мобильном оборудовании, где требуется компактное и безопасное распределение потоков рабочей жидкости.
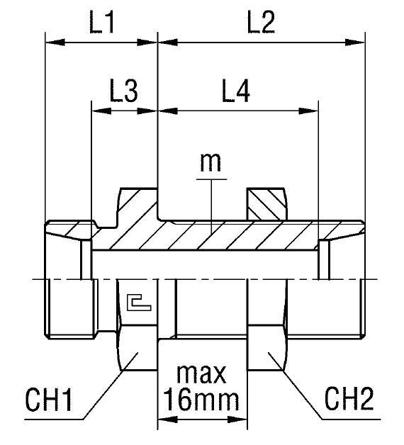
Конструктивно представляет собой полый болт с метрической резьбой M30x2, разработанный для соответствия стандарту DIN 2353 (соединения 24°). Обеспечивает аксиальную фиксацию трубы внутри корпуса, создавая надежное уплотнение при затягивании корончатой гайки (приобретается отдельно). Такая конструкция гарантирует долговечность и герметичность соединения даже при вибрационных нагрузках.
- Артикул: 103620.1
- Производитель: CAST
- Серия: S
- Стандарт: DIN 2353 (24° конус)
- Резьба: M30x2
- Диаметр трубы (D1): 20 мм
- Рабочее давление (WP): 420 бар
- Размер под ключ (CH1/CH2): 41 мм
- Длина (L1/L2/L3/L4): 28/44/17.5/33.5 мм
Для монтажа в агрессивных средах или при повышенных требованиях к коррозионной стойкости доступны исполнения из нержавеющей стали. Замена префикса артикула на 11.... обеспечивает фитинг из AISI 316, а 14.... – фитинг из AISI 316 с гайкой из AISI 304. Осуществляется поставка корпуса без уплотнительных элементов, которые необходимо заказывать отдельно. Данный фитинг CAST является ключевым элементом при построении надежных гидравлических систем.