Фитинг NPTF прямой DN25 1" (Ш) арт. 802515 от Cast
Фитинг NPTF прямой DN25 1" (Ш). Дюймовые фитинги. Фитинг с конической резьбой NPTF
Представляем прямой гидравлический фитинг NPTF, артикул 802515, от известного производителя CAST. Это изделие предназначено для создания герметичных и высоконадежных соединений в гидравлических системах, требующих прямого подключения с внутренней конической резьбой NPTF. Фитинг находит широкое применение в оборудовании со стандартным давлением, включая промышленные станки, сельскохозяйственную и мобильную технику, а также различные общемашиностроительные узлы.
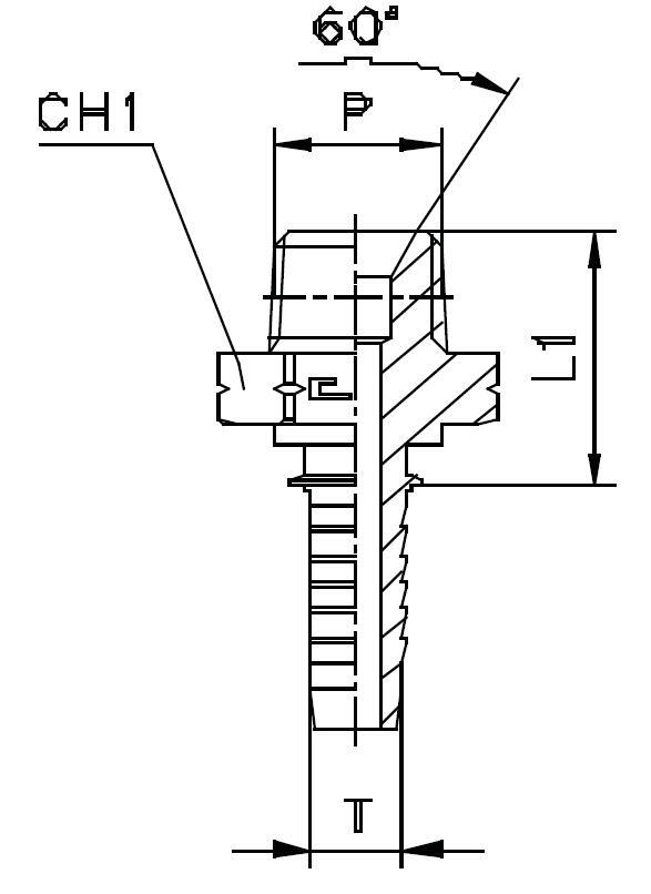
Конструкция фитинга предусматривает прямой корпус, оснащенный внутренней конической трубной резьбой NPTF (National Pipe Taper Fuel) согласно американскому стандарту. Эта резьба обеспечивает самогерметизирующееся соединение без необходимости применения дополнительных уплотнительных элементов (шайб или колец) за счет точной подгонки конусных поверхностей и интерференции витков. Данный гидравлический фитинг идеально подходит для формирования прочных резьбовых соединений в гидравлическом оборудовании, где критичны компактность и высокая эксплуатационная надежность.
- Рабочее давление (WP): 160 бар
- Номинальный внутренний диаметр (ID): 1 дюйм
- Условный проход (DN): 25
- Размер DASH: -16
- Общая длина L1 (CAST): 41 мм
Базовое исполнение данного гидравлического фитинга CAST выполнено из высококачественной стали, обеспечивающей необходимую прочность и долговечность в стандартных условиях эксплуатации. Для применений в условиях повышенной коррозионной активности, воздействия агрессивных сред или высоких гигиенических требований, доступен вариант из нержавеющей стали AISI 316. Для заказа изделия из нержавеющей стали необходимо изменить префикс артикула с "80..." на "81...". Фитинг формирует герметичное соединение исключительно за счет геометрии резьбы, упрощая монтаж и обслуживание.