Фитинг NPTF прямой DN20 3/4" (Ш) арт. 802513 от Cast
Фитинг NPTF прямой DN20 3/4" (Ш). Дюймовые фитинги. Фитинг с конической резьбой NPTF
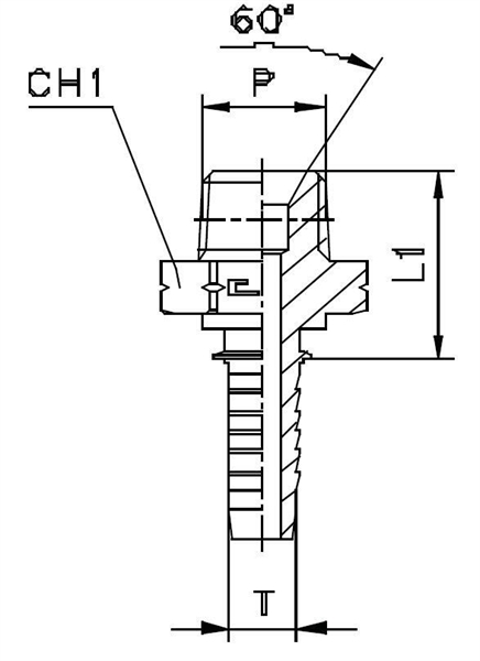
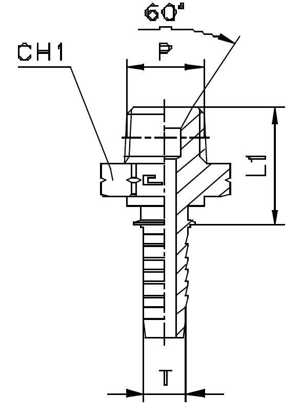
Данный элемент представляет собой прямой резьбовой фитинг с внутренней конической резьбой NPTF (National Pipe Taper Fuel), артикул 802513, разработанный брендом CAST. Он предназначен для создания надежных, герметичных соединений в гидравлических системах и линиях, где требуется устойчивость к вибрации и умеренное рабочее давление. Основные области применения включают стационарное оборудование, системы смазки, топливные линии и общепромышленные гидравлические контуры.
Конструкция обеспечивает высокую степень герметичности благодаря конусности резьбы, исключая необходимость использования дополнительных уплотнительных элементов. Изделие изготовлено из высокопрочной углеродистой стали с защитным покрытием и соответствует строгим европейским стандартам качества для гидравлических компонентов. Этот фитинг CAST используется для прямого подключения шлангов или трубопроводов к портам или адаптерам, имеющим внешнюю резьбу NPTF, формируя стабильное трубное соединение.
- Артикул: 802513
- Рабочее давление (WP): 200 бар
- Условный проход (DN): 19 мм (эквивалент DN20)
- Номинальный размер резьбы (NPTF): 3/4 дюйма (-12 DASH)
- Длина по каталогу L1: 34 мм
Стандартное исполнение (артикул 80...) выполнено из оцинкованной углеродистой стали, обеспечивающей надежную защиту от стандартной коррозии. Для эксплуатации в агрессивных средах, включая морские или химические приложения, доступен вариант из нержавеющей стали AISI 316. При заказе такого исполнения необходимо изменить префикс артикула с "80..." на "81...". Использование специального материала гарантирует высокую коррозионную стойкость и долговечность узла.