Фитинг NPTF прямой DN10 1/2" (Ш) арт. 802509 от Cast
Фитинг NPTF прямой DN10 1/2" (Ш). Дюймовые фитинги. Фитинг с конической резьбой NPTF
Прямой резьбовой адаптер NPTF (артикул 802509) производства фитинг CAST предназначен для создания высоконадежного и герметичного соединения в системах гидравлики среднего давления. Это компактное решение широко используется в стационарных промышленных установках, оборудовании для смазки, а также в мобильной спецтехнике, где требуется прочное гидравлическое соединение компонентов с использованием конической дюймовой резьбы NPTF (National Pipe Taper Fuel).
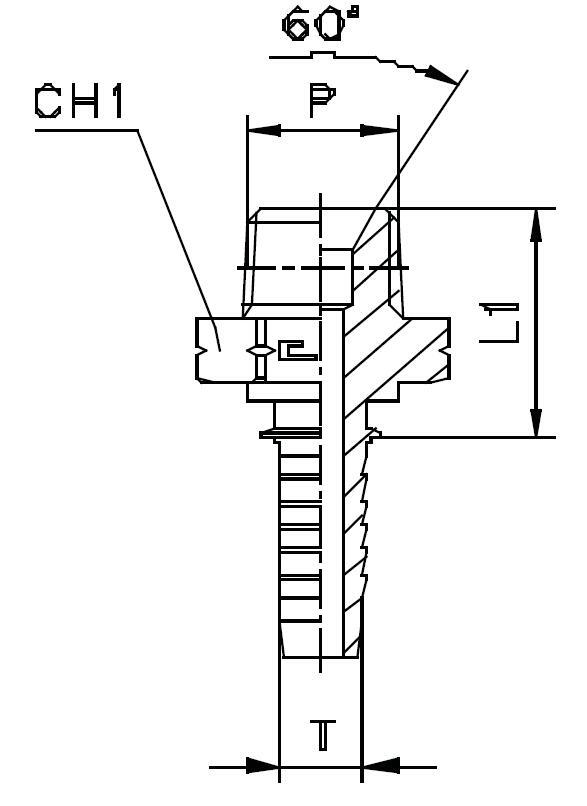
Данная конструкция представляет собой монолитный адаптер, разработанный для работы с номинальным проходом DN10. Резьба NPTF обеспечивает самоуплотнение за счет конусности и интерференции ниток, что минимизирует риск утечек даже при циклических нагрузках. Адаптер совместим с трубными линиями и рукавами высокого давления, имеющими внутренний диаметр 3/8" (DASH -6), и соответствует высоким европейским стандартам качества для резьбовых элементов.
- Артикул: 802509
- Рабочее давление (WP): 225 бар
- Условный проход (DN): 10 мм
- Размер резьбы: 1/2" (Ш) NPTF
- Внутренний диаметр (ID): 3/8" (DASH -6)
- Длина L1: 31 мм
Стандартное исполнение выполнено из высокопрочной углеродистой стали с защитным покрытием, обеспечивающим повышенную коррозионную стойкость в нормальных промышленных условиях. Для применения в особо агрессивных средах (например, морские установки или химическая промышленность) доступен вариант из нержавеющей стали AISI 316. При заказе данной модификации необходимо изменить префикс артикула с 80... на 81....