Фитинг NPTF прямой DN06 3/8" (Ш) арт. 802505 от Cast
Фитинг NPTF прямой DN06 3/8" (Ш). Дюймовые фитинги. Фитинг с конической резьбой NPTF
Прямой резьбовой адаптер NPTF (National Pipe Taper Fuel), артикул 802505, предназначен для создания прочного и герметичного трубного соединения в гидравлических линиях. Изделие от ведущего производителя фитинг CAST разработано для работы с низким и стандартным давлением (до 250 бар) и широко применяется в системах подачи смазочных материалов, топливных линиях и общепромышленных установках, включая стационарные станки и мобильную технику.
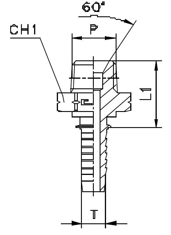
Конструктивно адаптер представляет собой цельнометаллический прямой фитинг, оснащенный наружной конической резьбой NPTF (3/8 дюйма). Данный тип резьбы обеспечивает самоуплотнение при монтаже за счет точного профиля и конусности, что критически важно для предотвращения утечек в критических узлах. Фитинг совместим со стандартными компонентами, использующими дюймовую коническую резьбу, и характеризуется высокой надежностью при правильной сборке без использования дополнительных уплотнительных шайб.
- Рабочее давление (WP): 250 бар
- Условный проход (DN): 6 мм
- Тип и размер резьбы: NPTF 3/8" (Наружная)
- Внутренний диаметр потока (ID): 1/4 дюйма
- Длина посадочная (L1 CAST): 25 мм
- Артикул стандарта: 802505 (Серия -4 DASH)
Стандартное исполнение адаптера выполнено из высокопрочной стали с защитным покрытием. Для эксплуатации в условиях повышенной влажности, агрессивных химических сред или при работе с коррозионными жидкостями (морская техника, пищевая промышленность) доступно исполнение из нержавеющей стали AISI 316. Для заказа коррозионностойкого варианта необходимо изменить префикс артикула с 80... на 81..., что гарантирует долговечность соединения при самых тяжелых эксплуатационных нагрузках.