Фитинг JIC прямой DN25 1-5/16" штифтованный арт. 801818 от Cast
Фитинг JIC прямой DN25 1-5/16" штифтованный. Дюймовые фитинги. Фитинг JIC с накидной гайкой (конус 37°, SAE J514)
Данный прямой фитинг JIC, артикул 801818, предназначен для надежного и герметичного соединения рукавов высокого давления (РВД) с узлами гидравлических систем. Изделие от производителя CAST обеспечивает компактное и быстроразъемное подключение, идеально подходящее для мобильной техники, строительного оборудования и промышленных станков. Фитинг рассчитан на работу с гидравлическими жидкостями, минеральными маслами и топливом при стандартном и повышенном рабочем давлении до 280 бар.
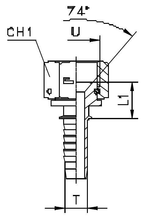
Конструктивно фитинг представляет собой прямой ниппель с конусным уплотнением под углом 37°, соответствующий международному стандарту JIC/SAE J514. Такая конструкция обеспечивает высокую степень герметичности без использования дополнительных прокладок. Фитинг адаптирован для создания надежного трубного соединения с условным проходом DN25, что соответствует внутреннему диаметру РВД в 1 дюйм. Высокая точность исполнения гарантирует совместимость со стандартными обжимными втулками.
- Артикул CAST: 801818
- Условный проход (DN): 25 мм
- Размер DASH: -16
- Резьба JIC (UNF): 1 5/16-12
- Рабочее давление (WP): 280 бар
- Длина L1: 22,5 мм
Стандартное исполнение выполнено из высокопрочной стали с гальваническим антикоррозионным покрытием. Для эксплуатации в условиях повышенной влажности, контакта с агрессивными средами или морской технике, фитинг CAST может быть заказан в исполнении из нержавеющей стали AISI 316. Чтобы заказать коррозионностойкий вариант, необходимо использовать префикс артикула 81... вместо 80.... Фитинг поставляется без обжимной втулки.