Фитинг JIC прямой DN20 1-3/16" штифтованный арт. 801816 от Cast
Фитинг JIC прямой DN20 1-3/16" штифтованный. Дюймовые фитинги. Фитинг JIC с накидной гайкой (конус 37°, SAE J514)
Прямой штифтованный фитинг CAST, артикул 801816, предназначен для создания герметичных и высоконадежных соединений в рукавах высокого давления (РВД). Данный компонент критичен для гидравлических систем среднего рабочего давления (до 290 бар), широко применяется в мобильной технике, сельскохозяйственных машинах, а также в стационарном промышленном оборудовании, требующем быстрого и компактного подключения гидравлических линий.
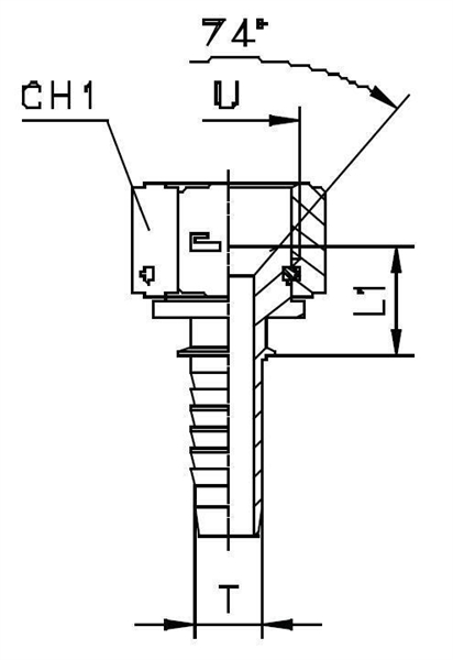
Конструктивно изделие представляет собой цельный прямой фитинг JIC (Joint Industrial Council), обеспечивающий высокую устойчивость к вибрационным и осевым нагрузкам. Штифтованное исполнение гарантирует надежную фиксацию РВД при обжиме. Соединение соответствует стандарту JIC с углом конуса 74°, что является стандартом для американских гидравлических систем. Номинальный размер – DN 19, что соответствует внутреннему диаметру рукава 3/4 дюйма и резьбе 1 3/16-12 (DASH -12).
- Рабочее давление (WP): 290 бар
- Номинальный диаметр (DN): 19 мм (соответствует DASH -12)
- Внутренний диаметр РВД: 3/4 дюйма
- Размер резьбы (U-стандарт): 1 3/16-12
- Длина посадочная (L1): 21 мм
Стандартное исполнение фитинга выполнено из высокопрочной углеродистой стали с защитным покрытием, обеспечивающим устойчивость к стандартным эксплуатационным условиям. Для применения в коррозионно-активных или агрессивных средах (морская техника, химическая промышленность) доступен вариант из нержавеющей стали AISI 316. Для заказа коррозионностойкого исполнения необходимо использовать артикул с префиксом 81..., вместо стандартного 80..., что гарантирует долговечное трубное соединение при повышенной влажности или контакте с агрессивными реагентами.