Фитинг JIC прямой DN16 7/8" (Ш) арт. 801613 от Cast
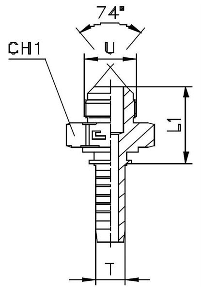
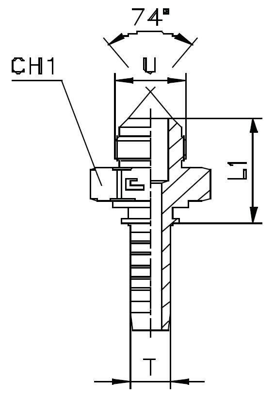
Фитинг JIC прямой DN16 7/8" (Ш). Дюймовые фитинги. Штуцер JIC с наружной резьбой (конус 37°, SAE J514)
Прямой муфтовый фитинг (гайка) JIC 37° с внутренним резьбовым соединением, артикул 801613. Изделие предназначено для обеспечения надежного и герметичного трубного соединения в гидравлических системах среднего и высокого давления. Производится ведущим брендом фитинг CAST. Основные области применения включают мобильную и дорожно-строительную технику, станки, а также системы, работающие с гидравлическими маслами, водой или топливом при стандартных и повышенных нагрузках.
Конструкция муфты выполнена в соответствии со стандартом JIC (SAE J514), характеризующимся углом конусности 37°, что гарантирует полную совместимость и герметичность при работе с соответствующими ниппелями и адаптерами. Прямое исполнение минимизирует потери давления и упрощает монтаж. Фитинг предназначен для использования в сборе с рукавами высокого давления (РВД) и жесткими трубопроводами, обеспечивая высокую вибростойкость и долговечность соединительного узла.
- Рабочее давление (WP): 350 бар
- Тип резьбы (UNF): JIC 7/8-14
- Условный диаметр (DN): 16
- DASH-размер: -10
- Длина общая L1 (CAST): 35 мм
Стандартное исполнение изготовлено из высокопрочной углеродистой стали с антикоррозионным покрытием. Для эксплуатации в агрессивных средах или при повышенных требованиях к коррозионной стойкости (например, в химической промышленности), доступен вариант из нержавеющей стали AISI 316. При заказе изделий из нержавеющей стали необходимо изменить префикс артикула с 80... на 81.... Фитинг поставляется без дополнительных уплотнительных элементов, так как герметизация достигается за счет прямого контакта конуса 37°.