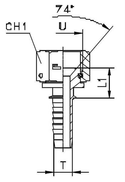
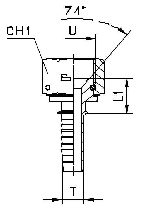
Фитинг JIC прямой DN12 7/8" штифтованный арт. 801811 от Cast
Фитинг JIC прямой DN12 7/8" штифтованный. Дюймовые фитинги. Фитинг JIC с накидной гайкой (конус 37°, SAE J514)
Это прямой адаптер (артикул 801811), относящийся к категории высоконадежных фитингов JIC производства CAST. Изделие предназначено для создания герметичного и компактного трубного соединения в составе систем, работающих под высоким давлением до 350 бар. Благодаря своей конструкции, он обеспечивает бесперебойное функционирование в стационарных установках, а также в мобильной и строительной технике, входящей в состав гидравлического оборудования.
Данный адаптер выполнен в стандарте JIC (Joint Industry Council) с наружной резьбой UNF 7/8-14 и обеспечивает надежное соединение с развальцованными трубами или рукавами высокого давления. Использование конусности 37° гарантирует максимальную герметичность и устойчивость к вибрационным и динамическим нагрузкам. Прямая конфигурация идеально подходит для ситуаций, где требуется минимальное изменение направления потока рабочей жидкости.
- Рабочее давление (WP): 350 бар
- Условный диаметр (DN): 12 мм
- Внутренний диаметр (ID): 1/2 дюйма (DASH -8)
- Тип резьбы (JIC/UNF): 7/8-14
- Длина посадочная L1 (CAST): 19 мм
Стандартное исполнение фитинга выполнено из высокопрочной углеродистой стали. Для применения в особо сложных условиях, где требуется повышенная стойкость к коррозии или воздействию агрессивных сред, доступен вариант из нержавеющей стали AISI 316. Для заказа коррозионностойкой версии, измените префикс артикула с 80... на 81..., что позволяет специалистам легко интегрировать данное трубное соединение в пищевую, химическую или морскую гидравлику.