Фитинг JIC прямой DN12 3/4" (Ш) арт. 801610 от Cast
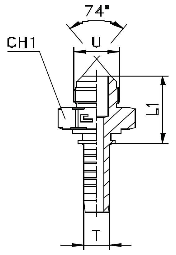
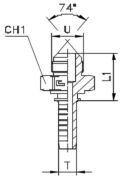
Фитинг JIC прямой DN12 3/4" (Ш). Дюймовые фитинги. Штуцер JIC с наружной резьбой (конус 37°, SAE J514)
Данный прямой фитинг CAST (артикул 801610) предназначен для формирования надежного и герметичного трубного соединения в гидравлических системах среднего и высокого давления. Изделие используется для прямого подключения рукавов высокого давления (РВД) с внутренним диаметром 1/2 дюйма к портам, адаптерам или другим компонентам. Серия фитингов CAST находит применение в широком спектре оборудования: от мобильной сельскохозяйственной и строительной техники до промышленных станков и стационарных гидравлических установок.
Конструктивно фитинг выполнен в соответствии с американским стандартом JIC 37° (SAE J514), что обеспечивает высокую степень совместимости и надежности. Герметичность соединения гарантируется за счет металлического контакта конуса 37 градусов и соответствующей ответной части. Такое исполнение исключает необходимость использования дополнительных уплотнительных шайб или прокладок, а также обеспечивает повышенную устойчивость к вибрационным и импульсным нагрузкам, характерным для современной гидравлики.
- Артикул (Стандартная сталь): 801610
- Рабочее давление (WP): 350 бар
- Условный диаметр (DN): 12 мм
- Размер резьбы JIC (SAE J514): 3/4-16 UNF (DASH -8)
- Совместимый внутренний диаметр (ID) рукава: 1/2 дюйма
Стандартная поставка фитинга осуществляется из высокопрочной углеродистой стали с защитным гальваническим покрытием. Для эксплуатации в условиях, требующих повышенной коррозионной стойкости, или при работе с агрессивными средами доступно исполнение из нержавеющей стали AISI 316. Для заказа этой модификации необходимо использовать префикс артикула 81..., вместо стандартного 80.... Изделие поставляется без обжимных гильз и наконечников, которые подбираются отдельно исходя из типа РВД.