Фитинг JIC прямой DN06 1/2" штифтованный арт. 801804 от Cast
Фитинг JIC прямой DN06 1/2" штифтованный. Дюймовые фитинги. Фитинг JIC с накидной гайкой (конус 37°, SAE J514)
Прямой фитинг JIC, артикул 801804, производства CAST, предназначен для надежного соединения гидравлических компонентов. Обеспечивает герметичное соединение в системах со стандартным рабочим давлением до 450 бар. Применяется в станках, мобильной технике и других гидравлических системах, где требуется надежность и компактность соединения.
Конструкция представляет собой штифтованный фитинг CAST, обеспечивающий высокую устойчивость к вибрациям и механическим нагрузкам. Соответствует стандартам, предъявляемым к трубным соединениям JIC. Обеспечивает совместимость с гидравлическими трубами и шлангами.
- Рабочее давление (WP): 450 бар
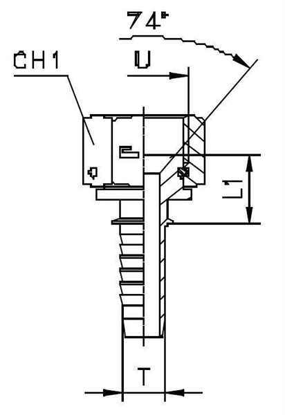
- Условный диаметр (DN): 6 мм
- Внутренний диаметр (ID): 1/4 дюйма
- Размер резьбы U: 1/2"-20 UNF
- Размер DASH: -4
Поставляется как отдельный компонент. Материал - сталь с защитным покрытием. Для заказа фитинга из нержавеющей стали AISI 316, необходимо изменить префикс артикула с 80... на 81..., что обеспечит повышенную коррозионную стойкость для применения в агрессивных средах.