Фитинг фланцевый SFL 3000psi DN20 1" арт. 805005 от Cast
Фитинг фланцевый SFL 3000psi DN20 1". Фланцевые соединения. Фланец SAE Code 61 (серия 3000 psi)
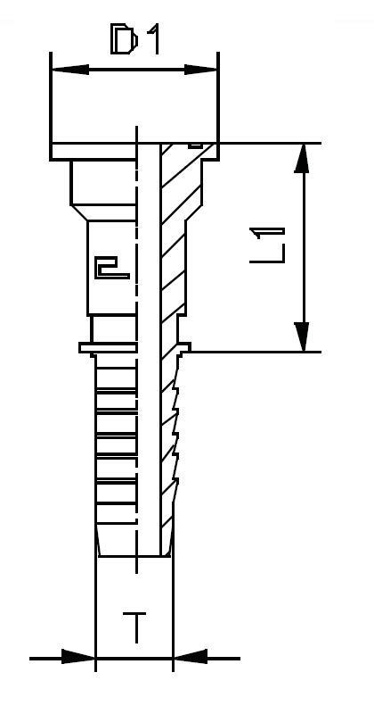
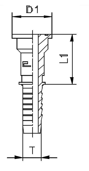
Данный фитинг CAST представляет собой гидравлическое фланцевое соединение легкой серии (SFL, Light Series Flange), рассчитанное на номинальное давление 3000 PSI. Изделие с артикулом 805005 обеспечивает надежное и герметичное подключение рукавов высокого давления (РВД) с условным диаметром DN19 (3/4 дюйма). Применяется в стационарных промышленных установках, а также в тяжелой мобильной технике, где требуется повышенная устойчивость соединения к вибрационным и импульсным нагрузкам.
Конструктивно фитинг соответствует международному стандарту ISO 6162-1 (SAE J518 Code 61), регламентирующему параметры фланцев легкой серии (SFL) 3000 PSI. Данное исполнение гарантирует полную взаимозаменяемость с ответными фланцевыми портами гидравлического оборудования. Соединение характеризуется высокой устойчивостью к боковым нагрузкам и обеспечивает долговечную эксплуатацию, формируя прочное трубное соединение в составе высоконапорной гидравлической линии.
- Артикул производителя: 805005
- Номинальное давление (серия): SFL 3000 PSI (ISO 6162-1)
- Условный проход (DN): 19 мм
- Внутренний диаметр (ID / DASH): 3/4 дюйма / -12
- Диаметр D1 (по CAST): 44,5 мм
- Длина L1 (по CAST): 53 мм
Стандартное исполнение фитинга изготовлено из высокопрочной углеродистой стали с антикоррозионным покрытием. Для эксплуатации в особо агрессивных средах или при высоких требованиях к коррозионной стойкости (например, в морской технике) доступен вариант из нержавеющей стали AISI 316. Для заказа нержавеющего исполнения необходимо использовать префикс артикула 81... вместо стандартного 80.... Обратите внимание, что крепежные элементы и уплотнительные шайбы (O-ring) для обеспечения герметичности фланца поставляются отдельно и должны соответствовать требуемому классу давления (3000 PSI).