Фитинг фланцевый SFL 3000psi 45° DN25 1" арт. 805206 от Cast
Фитинг фланцевый SFL 3000psi 45° DN25 1". Фланцевые соединения. Фланец SAE Code 61 (серия 3000 psi)
Этот угловой **фитинг CAST** (артикул 805206) представляет собой ключевой элемент фланцевого соединения SFL серии 3000 psi, предназначенный для создания герметичного и надежного подключения гидравлических трубопроводов под углом 45 градусов. Произведен компанией CAST, он оптимален для систем со стандартным давлением, находя широкое применение в промышленном оборудовании, станочных комплексах и мобильной гидравлике.
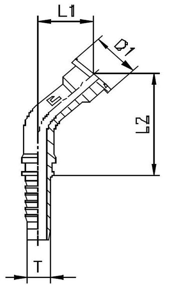
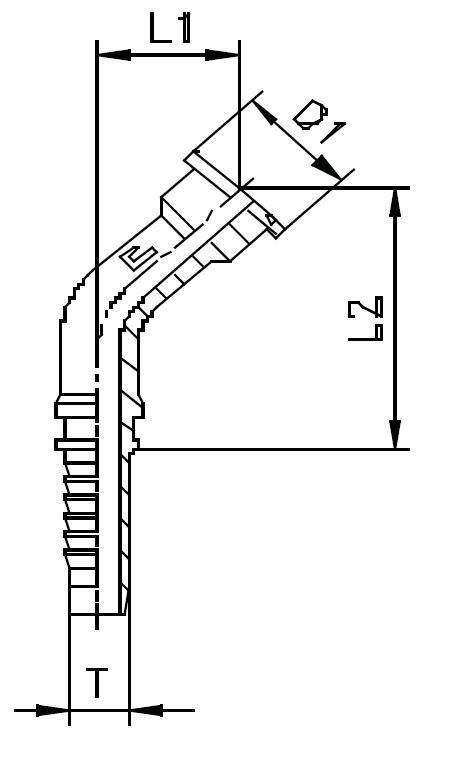
Конструктивно фитинг является литым фланцевым адаптером с углом 45°, разработанным для крепления на четыре болта. Данное **фланцевое соединение** соответствует стандарту SAE J518 Code 61, что гарантирует высокую надежность, взаимозаменяемость и совместимость с большинством современных гидравлических компонентов. Он обеспечивает прочное и герметичное присоединение к портам или магистралям, минимизируя потери давления и риск утечек в системе.
- Артикул: 805206
- Тип фланца: SFL (Code 61)
- Номинальное давление: 3000 psi
- Угол: 45°
- Условный диаметр (DN): 25 мм
- Внутренний диаметр (ID): 1"
- Размер DASH: -16
- Диаметр фланца D1 (по CAST): 44,5 мм
- Габаритная длина L1 (по CAST): 28 мм
Стандартно **фитинг** изготавливается из высококачественной стали с защитным покрытием. Для применения в агрессивных средах или условиях повышенной коррозии доступно исполнение из нержавеющей стали AISI 316. Для заказа версии из нержавеющей стали необходимо изменить префикс артикула с "80..." на "81...". Этот фланцевый адаптер может комплектоваться соответствующими уплотнительными кольцами для обеспечения максимальной герметичности в **гидравлической системе**.