Фитинг DKO-S прямой DN06 M18x1.5 (Ш) арт. 800909 от Cast
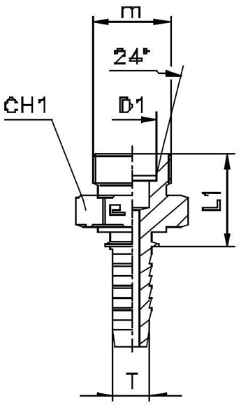
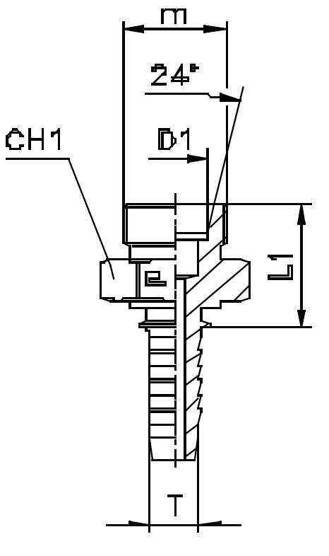
Фитинг DKO-S прямой DN06 M18x1.5 (Ш). Метрические фитинги. Штуцер DKOS (конус 24°, тяжелая серия)
Прямой соединительный элемент высокого давления, артикул 800909, представляет собой муфту типа DKO-S (Metric Heavy Series) от производителя фитинг CAST. Основное назначение — создание герметичного, надежного и быстроразъемного соединения в гидравлических линиях РВД (рукавов высокого давления). Изделие обеспечивает стабильную работу в стационарных и мобильных гидравлических системах, включая строительную технику, тяжелое промышленное оборудование и прессы, рассчитанные на повышенное рабочее давление.
Конструкция представляет собой прямой адаптер с наружной метрической резьбой M18x1.5. Фитинг обеспечивает конусное уплотнение под углом 24° (соответствие DIN 2353/ISO 8434-1), что гарантирует превосходную герметичность даже при значительных вибрационных и пульсирующих нагрузках. Соединение DKO-S разработано специально для жестких условий эксплуатации, где требуется максимальная прочность трубное соединение и минимизация рисков утечек рабочей среды.
- Рабочее давление (WP): 450 бар
- Метрическая резьба: M18x1.5
- Условный диаметр (DN): 6 мм (1/4")
- Длина адаптера L1 (CAST): 25,5 мм
Стандартное исполнение выполнено из высокопрочной углеродистой стали с антикоррозионным цинковым покрытием. Для применения в особо агрессивных средах (например, в морской технике или химическом производстве) доступна опция заказа изделия из нержавеющей стали AISI 316 (указывается при заказе сменой префикса артикула). Фитинг поставляется без обжимных гильз, которые приобретаются отдельно в зависимости от типа используемого РВД. Перед монтажом критически важно проверить чистоту конусной поверхности 24° для обеспечения максимальной герметичности системы.