Фитинг DKO-S прямой DN06 M18x1.5 (Г) арт. 801009 от Cast
Фитинг DKO-S прямой DN06 M18x1.5 (Г). Метрические фитинги. Фитинг DKOS с накидной гайкой (конус 24°, тяжелая серия)
Прямой трубный фитинг CAST DKO-S (артикул 801009) предназначен для создания надежного и герметичного соединения в высоконагруженных гидравлических системах. Изделие разработано для использования с трубами внешним диаметром 10 мм. Серия DKO-S (тяжелая) обеспечивает устойчивость к высоким рабочим давлениям, что делает его идеальным решением для стационарных промышленных установок, тяжелых станков, прессов и мобильной техники, где требуется максимальная прочность.
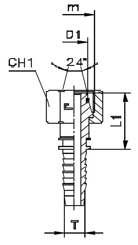
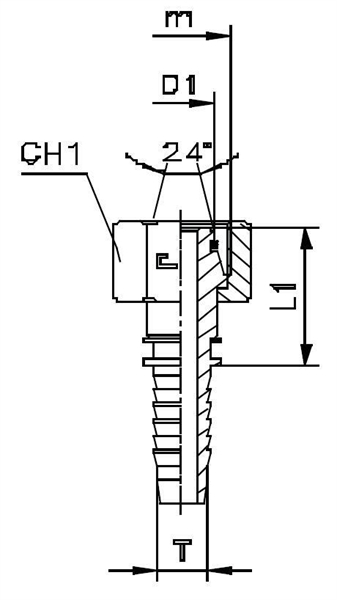
Конструктивно фитинг представляет собой полнотелый прямой адаптер с накидной гайкой (G) и соответствует международному стандарту ISO 8434-1 (DIN 2353). Соединение реализуется по принципу 24° врезного конуса, обеспечивающего плотное металлическое уплотнение. Эта конструкция гарантирует надежное трубное соединение, устойчивое к вибрациям и пиковым нагрузкам, предотвращая утечки рабочей жидкости в критических точках системы.
- Номинальный диаметр (DN): 06
- Внешний диаметр трубы: 10 мм
- Резьба гайки: М18х1.5 (метрическая)
- Серия: DKO-S (Тяжелая серия)
- Максимальное рабочее давление: До 630 бар (в зависимости от размера и материала трубы)
Стандартное исполнение детали выполнено из высокопрочной углеродистой стали с антикоррозионным цинковым покрытием. Для обеспечения заявленной герметичности требуется использование соответствующего врезного кольца и накидной гайки, которые не входят в комплект поставки и заказываются отдельно. При необходимости использования в агрессивных или коррозионных средах (например, в химической промышленности), доступно исполнение из нержавеющей стали AISI 316, для заказа которого необходимо использовать специальный префикс артикула.