Фитинг BSP прямой DN32 1-1/2" штифтованный арт. 802822 от Cast
Фитинг BSP прямой DN32 1-1/2" штифтованный. Дюймовые фитинги. Фитинг BSP с накидной гайкой (внутренний конус 60°)
Прямой штифтованный фитинг CAST (артикул 802822) предназначен для создания надежного и неразъемного трубного соединения в гидравлических системах среднего давления. Данное изделие обеспечивает компактное и герметичное подключение рукавов высокого давления (РВД) с использованием резьбы BSP. Благодаря своей конструкции, фитинг оптимально подходит для применения в стационарных установках, сельскохозяйственной и мобильной технике, где требуется стабильная работа при рабочем давлении до 160 бар.
Конструкция представляет собой прямой фитинг CAST с наружной резьбой BSP 1 1/2". Изделие соответствует требованиям, предъявляемым к компонентам современных гидравлических систем. Штифтованное исполнение обеспечивает исключительную прочность фиксации при опрессовке РВД, минимизируя риск выдавливания под нагрузкой. Фитинг совместим с рукавами с внутренним диаметром 1.1/4 дюйма (DN31/DN32) и широко используется для быстрого и надежного монтажа.
- Рабочее давление (WP): 160 бар
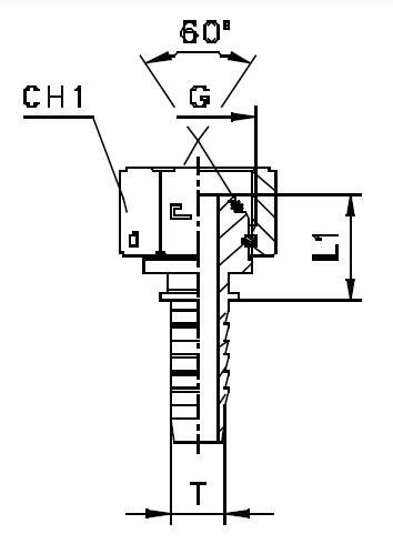
- Тип резьбы: G 1 1/2" (BSP)
- Условный диаметр (DN): 31 мм
- Внутренний диаметр (ID) рукава: 1.1/4 дюйма
- Длина общая (L1): 35 мм
- Артикул: 802822
Стандартное исполнение фитинга выполнено из высококачественной углеродистой стали с надежным антикоррозионным покрытием. Для эксплуатации в условиях повышенной влажности, агрессивных сред или химической промышленности доступен вариант из нержавеющей стали AISI 316. При заказе коррозионностойкой модификации необходимо изменить префикс артикула с 80... на 81..., что гарантирует долговечность компонента в самых сложных условиях эксплуатации.