Фитинг BSP прямой DN25 1" (Г) арт. 802719 от Cast
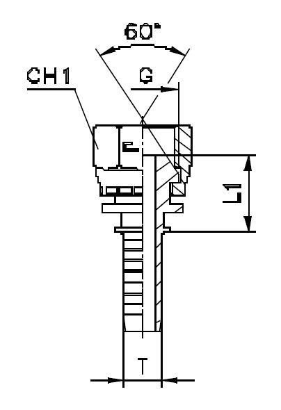
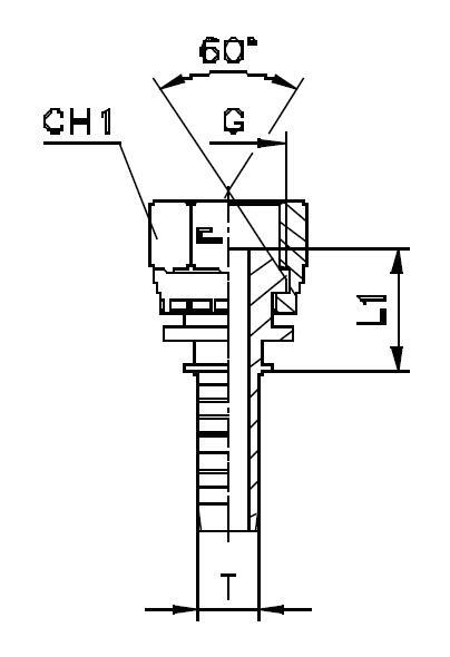
Фитинг BSP прямой DN25 1" (Г). Дюймовые фитинги. Фитинг BSP с накидной гайкой (внутренний конус 60°)
Представляем прямой гидравлический фитинг артикул 802719 от ведущего производителя CAST. Данное изделие предназначено для создания надежного и герметичного прямого соединения в гидравлических системах. Благодаря своей конструкции, фитинг оптимален для использования в условиях стандартного рабочего давления, обеспечивая эффективное подключение в широком спектре приложений: от стационарного промышленного оборудования и станков до мобильной техники, а также в системах смазки и подачи топлива.
Конструктивно гидравлический фитинг CAST представляет собой прямой адаптер с внутренней цилиндрической трубной резьбой BSP (G1", соответствующей ISO 228-1), обеспечивающей высокую герметичность при монтаже с соответствующим уплотнением (например, по торцу или с кольцом Бонда). Изделие разработано для простой интеграции в существующие системы, совместимо с широким спектром компонентов и обеспечивает надежное резьбовое соединение без дополнительных переходников.
- Рабочее давление (WP): 200 бар
- Резьба: G 1" (внутренняя)
- Условный диаметр (DN): 25 мм
- Внутренний диаметр (ID): 1 дюйм
- Размер DASH: -16
- Длина L1 (CAST): 24 мм
Стандартное исполнение фитинга выполнено из высококачественной оцинкованной стали, обеспечивающей необходимую прочность и умеренную коррозионную стойкость. Для применений в агрессивных средах или условиях, требующих повышенной устойчивости к коррозии, доступны варианты исполнения из нержавеющей стали AISI 316 (заказывается по отдельному артикулу или изменением префикса). Комплектность обычно не включает уплотнительные элементы, которые подбираются и заказываются отдельно, исходя из специфики применения.