Фитинг BSP прямой DN20 3/4" (Г) арт. 802717 от Cast
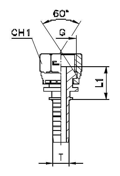
Фитинг BSP прямой DN20 3/4" (Г). Дюймовые фитинги. Фитинг BSP с накидной гайкой (внутренний конус 60°)
Данный фитинг CAST (артикул 802717) представляет собой прямое резьбовое соединение с внутренней цилиндрической резьбой G 3/4 дюйма (BSP Parallel). Изделие разработано для создания надежного и герметичного трубного соединения в гидравлических линиях, работающих под средним давлением. Основное назначение – подключение РВД или жестких труб к портам агрегатов. Фитинги CAST серии 80 широко применяются в промышленной гидравлике, стационарных станках, а также в системах смазки и охлаждения мобильной строительной техники.
Конструкция фитинга обеспечивает высокую пропускную способность, соответствующую условному диаметру DN 19 (DN20), и минимизирует турбулентность потока. Материал – высокопрочная углеродистая сталь, обеспечивающая механическую устойчивость при многократном монтаже. Соединение типа BSPP является стандартом для многих европейских и азиатских систем и обеспечивает торцевую герметизацию при использовании соответствующего уплотнения (Dowty, USIT-кольца). Совместим с наружными резьбовыми элементами (BSP male).
- Рабочее давление (WP): 250 бар
- Номинальная резьба: G 3/4"
- Условный проход (DN): 19 мм
- Размер DASH: -12
- Длина L1: 22,5 мм
Стандартное исполнение фитинга CAST имеет антикоррозийное покрытие (цинкование), что обеспечивает надежную защиту в стандартных условиях эксплуатации. Для применения в коррозионно-активных или агрессивных средах (например, в пищевой промышленности или на морских судах) возможен заказ версии из нержавеющей стали AISI 316. При оформлении заказа на особые условия необходимо указывать соответствующий префикс артикула. Для достижения заявленного рабочего давления требуется обязательное использование соответствующих уплотнительных шайб.