Фитинг BSP прямой DN12 1/2" (Ш) арт. 802612 от Cast
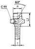
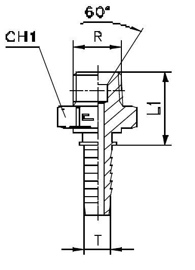
Фитинг BSP прямой DN12 1/2" (Ш). Дюймовые фитинги. Штуцер BSP с наружной резьбой (наружный конус 60°)
Данный прямой адаптер, артикул 802612, разработан и изготовлен компанией Фитинг CAST для обеспечения надежного и герметичного подключения в гидравлических системах. Изделие предназначено для эксплуатации при стандартном рабочем давлении до 350 бар. Основное назначение – интеграция измерительных приборов или подключение гибких шлангов и жестких трубопроводов в составе станочного оборудования, мобильной спецтехники и промышленных систем, работающих с минеральными маслами и другими неагрессивными рабочими жидкостями.
Конструктивно фитинг представляет собой прямой адаптер с наружной трубной цилиндрической резьбой BSP (G 1/2"). Такое исполнение обеспечивает максимальную совместимость с портами и магистралями, использующими стандартное трубное соединение. Адаптер выполнен из высокопрочной углеродистой стали с антикоррозийным покрытием (цинкование), гарантируя долговечность и устойчивость к вибрационным нагрузкам. Присоединение требует использования соответствующих уплотнительных элементов (уплотнительных шайб или Bonded Seals), которые обеспечивают надежное статическое уплотнение.
- Рабочее давление (WP): 350 бар
- Тип резьбы: BSP G 1/2"
- Условный диаметр (DN): 12 мм
- Внутренний диаметр (ID): 1/2 дюйма (DASH -8)
- Общая длина (L1): 29,5 мм
Базовое исполнение поставляется из оцинкованной стали (артикул 80...). Для условий, требующих повышенной коррозионной стойкости, например, в химической или морской промышленности, доступно исполнение из нержавеющей стали AISI 316. При заказе данной модификации необходимо изменить префикс артикула с 80... на 81.... Фитинг поставляется без дополнительных уплотнительных колец или шайб, которые необходимо приобретать отдельно, исходя из требуемого типа уплотнения порта.