Фитинг BANJO для РВД DN08 M16x1.5 арт. 804710 от Cast
Фитинг BANJO для РВД DN08 M16x1.5. Кольцевые фитинги Banjo. Фитинг кольцевой (банджо) под метрическую резьбой
Данное изделие (артикул 804710) представляет собой угловой гидравлический фитинг типа BANJO, разработанный для компактного и герметичного подключения гибких рукавов высокого давления (РВД) с условным проходом DN 8 (5/16 дюйма). Производитель — фитинг CAST (серия 80). Этот элемент незаменим в гидравлических системах, где требуется монтаж шланга под углом 90 градусов, минимизация радиуса изгиба и экономия пространства, особенно в мобильной технике, сельскохозяйственных машинах и агрегатах стандартного рабочего давления.
Конструктивно фитинг является обжимной муфтой, предназначенной для установки на соответствующий полый болт (банжо-болт) с метрической резьбой M16x1.5. Такая конструкция обеспечивает надежную фиксацию РВД и высокую пропускную способность. Для гарантированной герметичности и предотвращения утечек, данное трубное соединение требует использования двух металлических или комбинированных уплотнительных шайб, которые создают статическое уплотнение между головкой болта, фитингом и корпусом подключаемого узла.
- Тип резьбы подключения: Метрическая M16x1.5
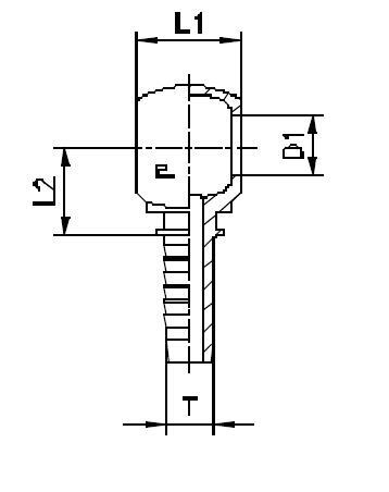
- Условный диаметр DN: 8 мм (DASH -5)
- Совместимость с РВД (ID): 5/16 дюйма
- Номинальный диаметр D1: 16,1 мм
Стандартное исполнение фитинга выполнено из высокопрочной углеродистой стали с антикоррозионным покрытием. Для эксплуатации в агрессивных средах или при повышенных требованиях к коррозионной стойкости, доступно исполнение из нержавеющей стали AISI 316. При заказе такого варианта для гидравлическая система, работающей в особых условиях, необходимо изменить префикс артикула с 80... на 81... (например, 814710). Обратите внимание: полый болт и уплотнительные шайбы в комплект поставки не входят и заказываются отдельно.