Двойной ниппель-переходник DL22-DL12 M30x2-M18x1.5 арт. 603535 от Cast
Двойной ниппель-переходник DL22-DL12 M30x2-M18x1.5. Соединения с врезным кольцом (DIN 2353). Прямой соединитель "гайка-гайка"
Данный двойной ниппель-переходник CAST, артикул 603535, из серии L (легкая), предназначен для создания герметичного трубного соединения и адаптации гидравлических линий с различными диаметрами метрических резьб. Он идеально подходит для гидравлических систем общего назначения, станков, мобильной техники, а также для систем смазки и топливопроводов, работающих при стандартном давлении до 250 бар.
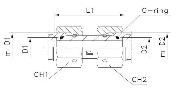
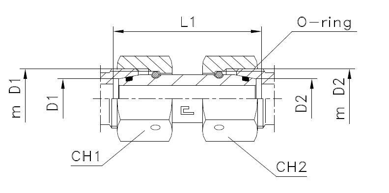
Конструктивно представляет собой резьбовой **фитинг CAST** типа "двойной ниппель", обеспечивающий надежный переход между двумя различными метрическими резьбами и соответствующими им трубными соединениями. Изготовлен в соответствии со стандартом **DIN 2353** для трубных соединений с конусностью 24°, что гарантирует полную совместимость с широким спектром гидравлических компонентов. Позволяет эффективно соединять трубки с внешними диаметрами 22 мм и 12 мм, оптимизируя конфигурацию гидравлических контуров.
- Артикул: 603535
- Рабочее давление (WP): 250 бар
- Тип трубного соединения: DIN 2353, 24° конусность
- Резьба 1: M30x2 (для трубки 22 мм)
- Резьба 2: M18x1.5 (для трубки 12 мм)
- Размер под ключ 1 (CH1): 36 мм
- Размер под ключ 2 (CH2): 22 мм
- Длина L1: 42,5 мм
- Серия: L (легкая)
Стандартное исполнение данного гидравлического переходника выполнено из высококачественной стали. Для применения в агрессивных средах или условиях повышенной коррозионной активности доступна версия из нержавеющей стали AISI 316. Для заказа исполнения из нержавеющей стали необходимо изменить префикс артикула с "60..." на "61...". Поставляется как самостоятельный компонент; уплотнительные шайбы, обжимные кольца и накидные гайки заказываются отдельно, в зависимости от требований к трубному соединению.